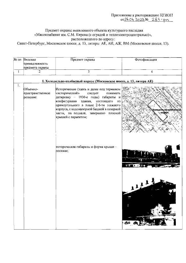
Распоряжение Комитета по государственному контролю, использованию и охране памятников истории и культуры Санкт-Петербурга от 24.04.2023 № 281-рп
"Об утверждении предмета охраны выявленного объекта культурного наследия "Мясокомбинат им. С.М. Кирова (с оградой и теплоэлектроцентралью)"
(Зарегистрирован 25.04.2023 № 34736)
"Об утверждении предмета охраны выявленного объекта культурного наследия "Мясокомбинат им. С.М. Кирова (с оградой и теплоэлектроцентралью)"
(Зарегистрирован 25.04.2023 № 34736)
Номер опубликования: 7801202304270008
Дата опубликования:
27.04.2023
