Распоряжение Комитета по государственному контролю, использованию и охране памятников истории и культуры Санкт-Петербурга от 18.04.2023 № 243-рп
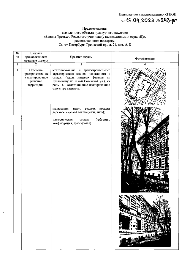
"Об утверждении предмета охраны выявленного объекта культурного наследия "Здание Третьего реального училища (с палисадником и оградой)"
(Зарегистрирован 18.04.2023 № 34656)
"Об утверждении предмета охраны выявленного объекта культурного наследия "Здание Третьего реального училища (с палисадником и оградой)"
(Зарегистрирован 18.04.2023 № 34656)
Номер опубликования: 7801202304200008
Дата опубликования:
20.04.2023
