Официальное опубликование правовых актов
ОФИЦИАЛЬНОЕ ОПУБЛИКОВАНИЕ
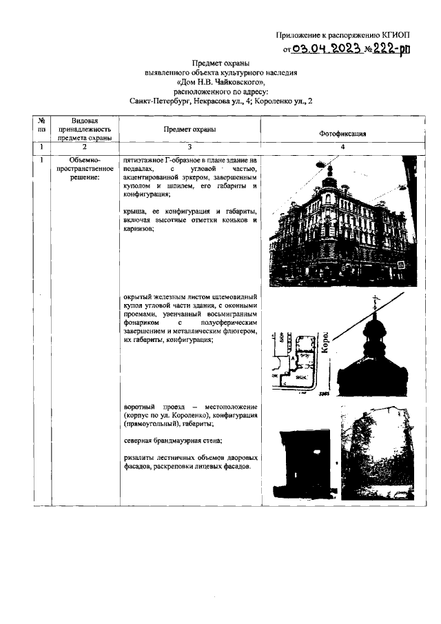
Распоряжение Комитета по государственному контролю, использованию и охране памятников истории и культуры Санкт-Петербурга от 03.04.2023 № 222-рп
"Об утверждении предмета охраны выявленного объекта культурного наследия "Дом Н.В. Чайковского"
(Зарегистрирован 04.04.2023 № 34572)
Номер опубликования: 7801202304050008
Дата опубликования: 05.04.2023
Страница №2 из 50:
Увеличить