Официальное опубликование правовых актов
ОФИЦИАЛЬНОЕ ОПУБЛИКОВАНИЕ
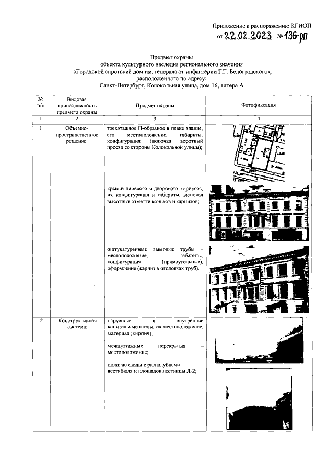
Распоряжение Комитета по государственному контролю, использованию и охране памятников истории и культуры Санкт-Петербурга от 22.02.2023 № 136-рп
"Об утверждении предмета охраны объекта культурного наследия регионального значения "Городской сиротский дом им. генерала от инфантерии Г.Г. Белоградского"
(Зарегистрирован 27.02.2023 № 34358)
Номер опубликования: 7801202303020021
Дата опубликования: 02.03.2023
Страница №2 из 7:
Увеличить