Официальное опубликование правовых актов
ОФИЦИАЛЬНОЕ ОПУБЛИКОВАНИЕ
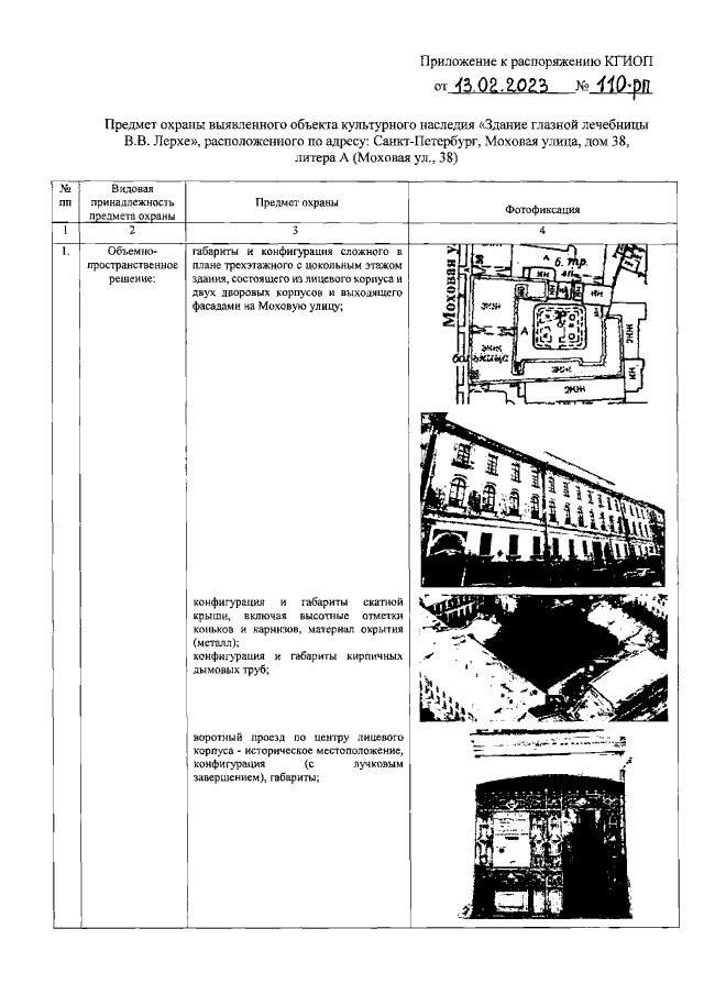
Распоряжение Комитета по государственному контролю, использованию и охране памятников истории и культуры Санкт-Петербурга от 13.02.2023 № 110-рп
"Об утверждении предмета охраны выявленного объекта культурного наследия "Здание глазной лечебницы В.В. Лерхе"
(Зарегистрирован 16.02.2023 № 34309)
Номер опубликования: 7801202302170010
Дата опубликования: 17.02.2023
Страница №2 из 11:
Увеличить