Официальное опубликование правовых актов
ОФИЦИАЛЬНОЕ ОПУБЛИКОВАНИЕ
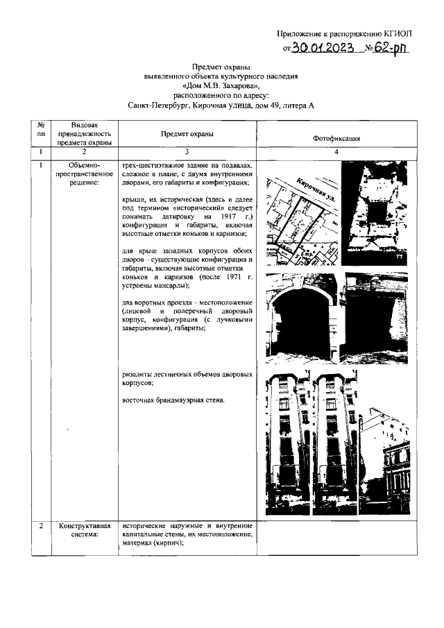
Распоряжение Комитета по государственному контролю, использованию и охране памятников истории и культуры Санкт-Петербурга от 30.01.2023 № 62-рп
"Об утверждении предмета охраны выявленного объекта культурного наследия "Дом М.В. Захарова"
(Зарегистрирован 31.01.2023 № 34197)
Номер опубликования: 7801202302020002
Дата опубликования: 02.02.2023
Страница №2 из 26:
Увеличить