Официальное опубликование правовых актов
ОФИЦИАЛЬНОЕ ОПУБЛИКОВАНИЕ
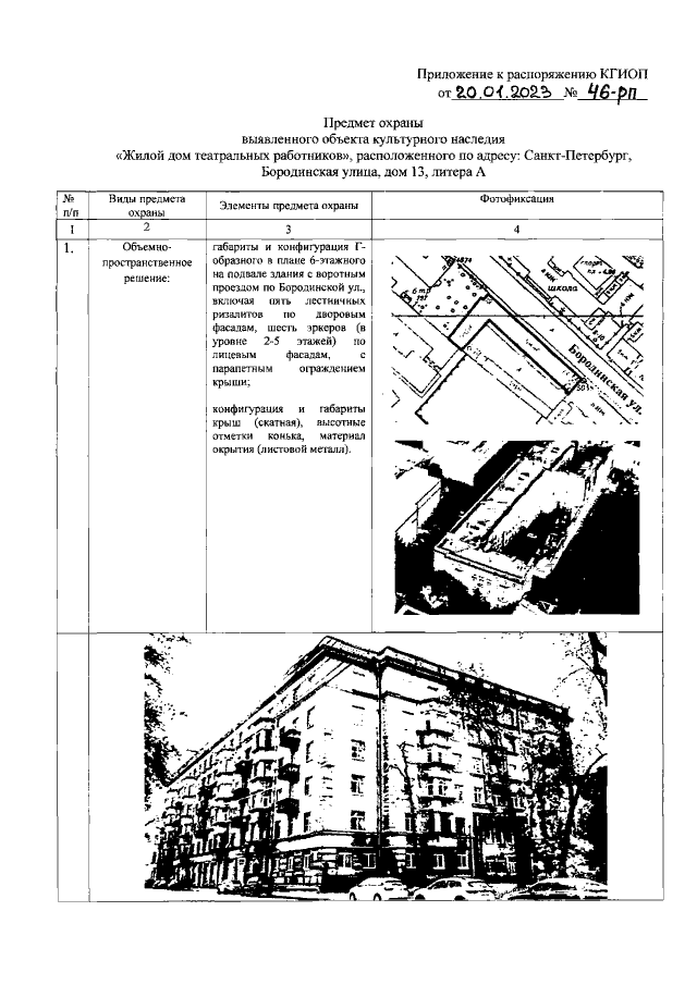
Распоряжение Комитета по государственному контролю, использованию и охране памятников истории и культуры Санкт-Петербурга от 20.01.2023 № 46-рп
"Об утверждении предмета охраны выявленного объекта культурного наследия "Жилой дом театральных работников"
(Зарегистрирован 24.01.2023 № 34163)
Номер опубликования: 7801202301240018
Дата опубликования: 24.01.2023
Страница №2 из 11:
Увеличить