Официальное опубликование правовых актов
ОФИЦИАЛЬНОЕ ОПУБЛИКОВАНИЕ
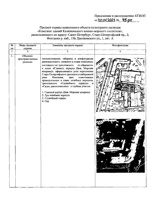
Распоряжение Комитета по государственному контролю, использованию и охране памятников истории и культуры Санкт-Петербурга от 20.01.2023 № 45-рп
"Об утверждении предмета охраны выявленного объекта культурного наследия "Комплекс зданий Калинкинского военно-морского госпиталя"
(Зарегистрирован 24.01.2023 № 34165)
Номер опубликования: 7801202301240015
Дата опубликования: 24.01.2023
Страница №2 из 18:
Увеличить