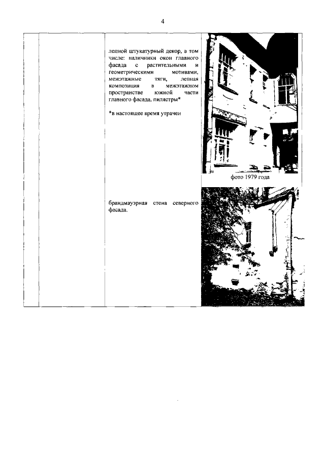
Распоряжение Комитета по государственному контролю, использованию и охране памятников истории и культуры Санкт-Петербурга от 29.11.2022 № 525-рп
"Об утверждении предмета охраны выявленного объекта культурного наследия "Жилой дом"
"Об утверждении предмета охраны выявленного объекта культурного наследия "Жилой дом"
Номер опубликования: 7801202212050013
Дата опубликования:
05.12.2022
