Официальное опубликование правовых актов
ОФИЦИАЛЬНОЕ ОПУБЛИКОВАНИЕ
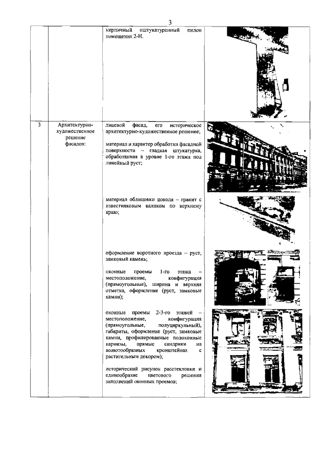
Распоряжение Комитета по государственному контролю, использованию и охране памятников истории и культуры Санкт-Петербурга от 18.11.2022 № 477-рп
"Об утверждении предмета охраны объекта культурного наследия регионального значения "Дом Васильевых"
Номер опубликования: 7801202211230002
Дата опубликования: 23.11.2022
Страница №4 из 6:
Увеличить