Официальное опубликование правовых актов
ОФИЦИАЛЬНОЕ ОПУБЛИКОВАНИЕ
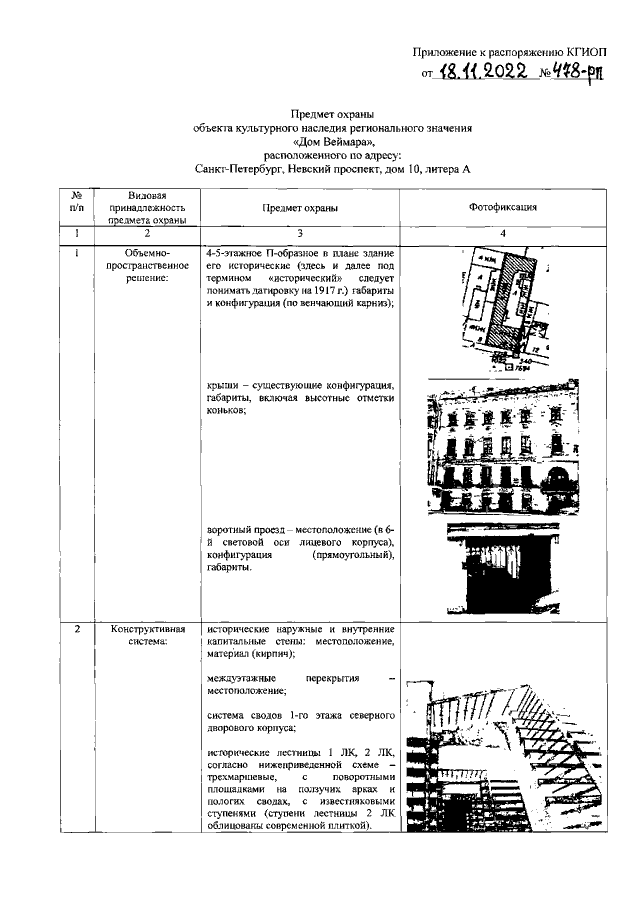
Распоряжение Комитета по государственному контролю, использованию и охране памятников истории и культуры Санкт-Петербурга от 18.11.2022 № 478-рп
"Об утверждении предмета охраны объекта культурного наследия регионального значения "Дом Веймара"
Номер опубликования: 7801202211230001
Дата опубликования: 23.11.2022
Страница №2 из 6:
Увеличить