Официальное опубликование правовых актов
ОФИЦИАЛЬНОЕ ОПУБЛИКОВАНИЕ
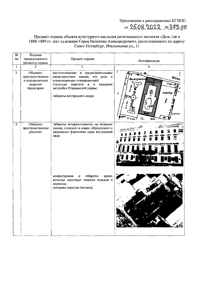
Распоряжение Комитета по государственному контролю, использованию и охране памятников истории и культуры Санкт-Петербурга от 25.08.2022 № 379-рп
"Об утверждении предмета охраны объекта культурного наследия регионального значения "Дом, где в 1888-1889 гг. жил художник Серов Валентин Александрович"
Номер опубликования: 7801202208300012
Дата опубликования: 30.08.2022
Страница №2 из 7:
Увеличить