Официальное опубликование правовых актов
ОФИЦИАЛЬНОЕ ОПУБЛИКОВАНИЕ
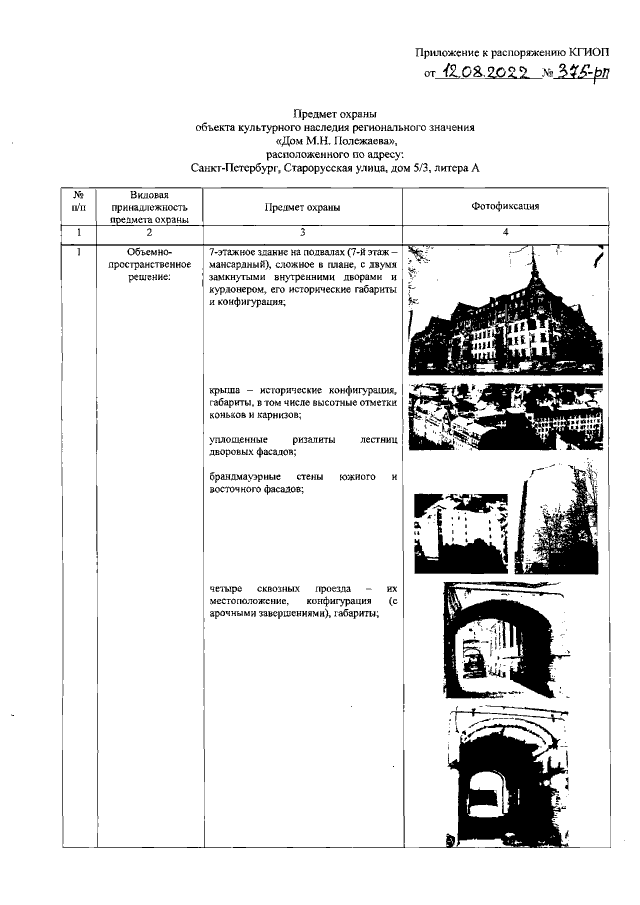
Распоряжение Комитета по государственному контролю, использованию и охране памятников истории и культуры Санкт-Петербурга от 12.08.2022 № 375-рп
"Об утверждении предмета охраны объекта культурного наследия регионального значения "Дом М.Н. Полежаева"
Номер опубликования: 7801202208150005
Дата опубликования: 15.08.2022
Страница №2 из 22:
Увеличить