Официальное опубликование правовых актов
ОФИЦИАЛЬНОЕ ОПУБЛИКОВАНИЕ
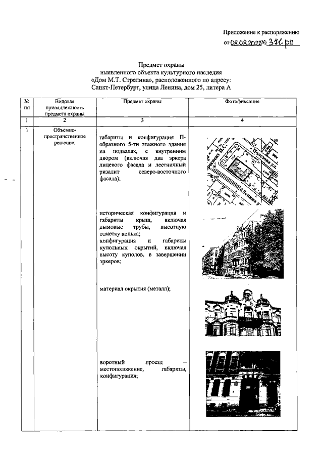
Распоряжение Комитета по государственному контролю, использованию и охране памятников истории и культуры Санкт-Петербурга от 08.08.2022 № 371-рп
"Об утверждении предмета охраны выявленного объекта культурного наследия "Дом М.Т. Стрелина"
Номер опубликования: 7801202208100010
Дата опубликования: 10.08.2022
Страница №2 из 9:
Увеличить