Официальное опубликование правовых актов
ОФИЦИАЛЬНОЕ ОПУБЛИКОВАНИЕ
Распоряжение Комитета по государственному контролю, использованию и охране памятников истории и культуры Санкт-Петербурга от 08.08.2022 № 370-рп
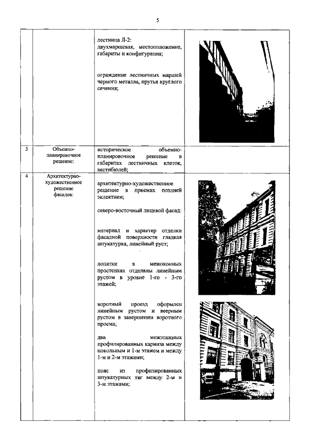
"Об утверждении предмета охраны объекта культурного наследия федерального значения "Дом, где жили физики: в 1941-1946 гг. - Вавилов С.И., в 1939-1940 гг. - Рождественский Д.С."
Номер опубликования: 7801202208100007
Дата опубликования: 10.08.2022
Страница №6 из 8:
Увеличить