Официальное опубликование правовых актов
ОФИЦИАЛЬНОЕ ОПУБЛИКОВАНИЕ
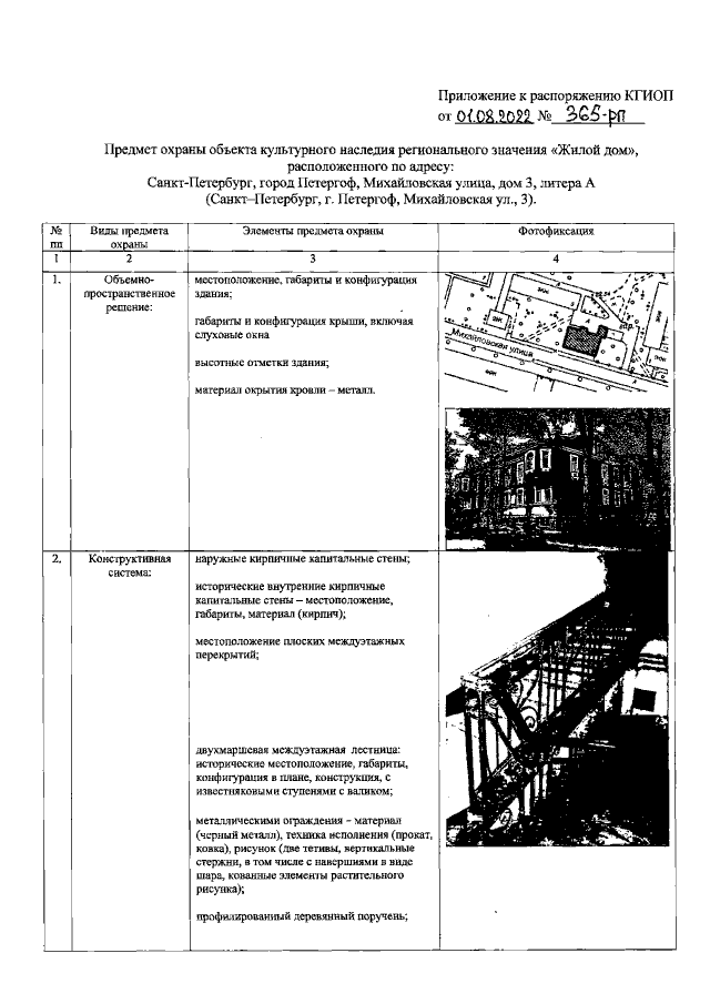
Распоряжение Комитета по государственному контролю, использованию и охране памятников истории и культуры Санкт-Петербурга от 01.08.2022 № 365-рп
"Об утверждении предмета охраны объекта культурного наследия регионального значения "Жилой дом"
Номер опубликования: 7801202208030004
Дата опубликования: 03.08.2022
Страница №2 из 6:
Увеличить