Официальное опубликование правовых актов
ОФИЦИАЛЬНОЕ ОПУБЛИКОВАНИЕ
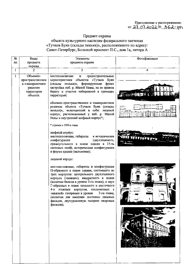
Распоряжение Комитета по государственному контролю, использованию и охране памятников истории и культуры Санкт-Петербурга от 27.07.2022 № 362-рп
"Об утверждении предмета охраны объекта культурного наследия федерального значения "Тучков Буян (склады пеньки)"
Номер опубликования: 7801202207290001
Дата опубликования: 29.07.2022
Страница №2 из 11:
Увеличить