Официальное опубликование правовых актов
ОФИЦИАЛЬНОЕ ОПУБЛИКОВАНИЕ
Распоряжение Комитета по государственному контролю, использованию и охране памятников истории и культуры Санкт-Петербурга от 18.07.2022 № 352-рп
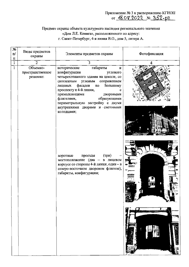
"О включении выявленного объекта культурного наследия в единый государственный реестр объектов культурного наследия (памятников истории и культуры) народов Российской Федерации в качестве объекта культурного наследия регионального значения "Дом Л.Е. Кенига", об утверждении границ и режима использования территории объекта культурного наследия, об утверждении предмета охраны объекта культурного наследия"
Номер опубликования: 7801202207210003
Дата опубликования: 21.07.2022
Страница №7 из 22:
Увеличить