Официальное опубликование правовых актов
ОФИЦИАЛЬНОЕ ОПУБЛИКОВАНИЕ
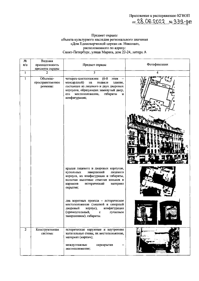
Распоряжение Комитета по государственному контролю, использованию и охране памятников истории и культуры Санкт-Петербурга от 28.06.2022 № 339-рп
"Об утверждении предмета охраны объекта культурного наследия регионального значения "Дом Единоверческой церкви св. Николая"
Номер опубликования: 7801202207010007
Дата опубликования: 01.07.2022
Страница №2 из 11:
Увеличить