Официальное опубликование правовых актов
ОФИЦИАЛЬНОЕ ОПУБЛИКОВАНИЕ
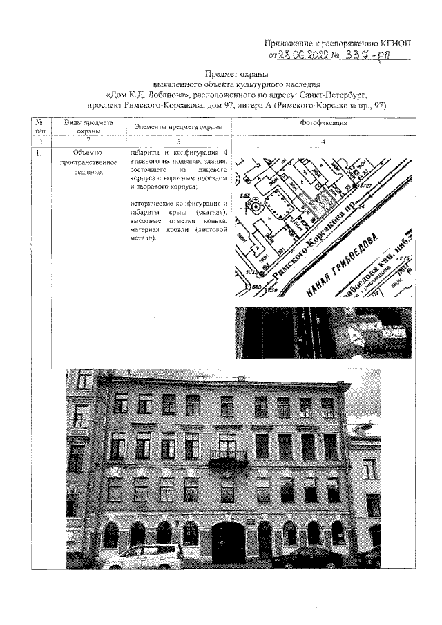
Распоряжение Комитета по государственному контролю, использованию и охране памятников истории и культуры Санкт-Петербурга от 28.06.2022 № 337-рп
"Об утверждении предмета охраны выявленного объекта культурного наследия "Дом К.Д. Лобанова"
Номер опубликования: 7801202207010005
Дата опубликования: 01.07.2022
Страница №2 из 8:
Увеличить