Официальное опубликование правовых актов
ОФИЦИАЛЬНОЕ ОПУБЛИКОВАНИЕ
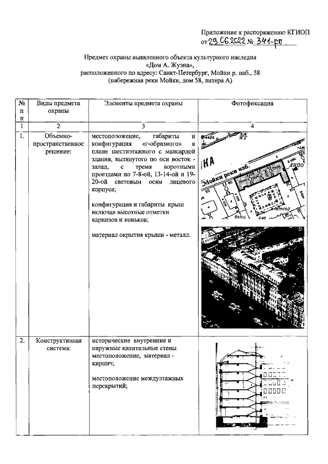
Распоряжение Комитета по государственному контролю, использованию и охране памятников истории и культуры Санкт-Петербурга от 29.06.2022 № 341-рп
"Об утверждении предмета охраны выявленного объекта культурного наследия "Дом А. Жуэна"
Номер опубликования: 7801202207010002
Дата опубликования: 01.07.2022
Страница №2 из 12:
Увеличить