Официальное опубликование правовых актов
ОФИЦИАЛЬНОЕ ОПУБЛИКОВАНИЕ
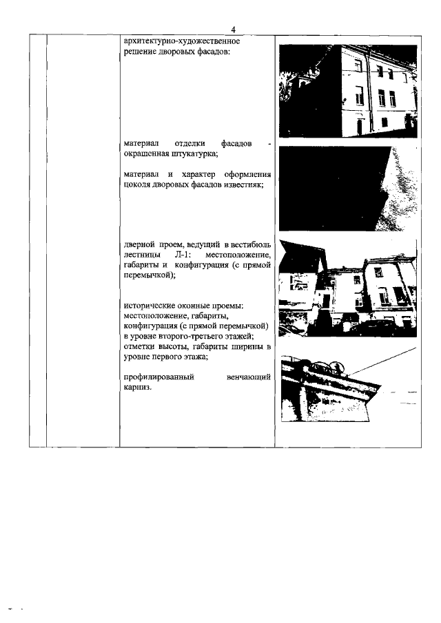
Распоряжение Комитета по государственному контролю, использованию и охране памятников истории и культуры Санкт-Петербурга от 20.06.2022 № 334-рп
"Об утверждении предмета охраны объекта культурного наследия регионального значения "Дом, в котором в 1895 г. у М.А. Сильвина под руководством Ленина происходили встречи петербургских марксистов"
Номер опубликования: 7801202206220006
Дата опубликования: 22.06.2022
Страница №5 из 5:
Увеличить