Официальное опубликование правовых актов
ОФИЦИАЛЬНОЕ ОПУБЛИКОВАНИЕ
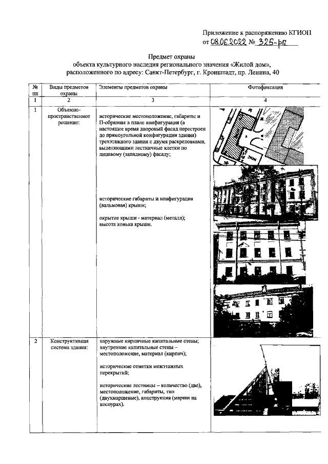
Распоряжение Комитета по государственному контролю, использованию и охране памятников истории и культуры Санкт-Петербурга от 08.06.2022 № 325-рп
"Об утверждении предмета охраны объекта культурного наследия регионального значения "Жилой дом"
Номер опубликования: 7801202206140011
Дата опубликования: 14.06.2022
Страница №2 из 5:
Увеличить