Официальное опубликование правовых актов
ОФИЦИАЛЬНОЕ ОПУБЛИКОВАНИЕ
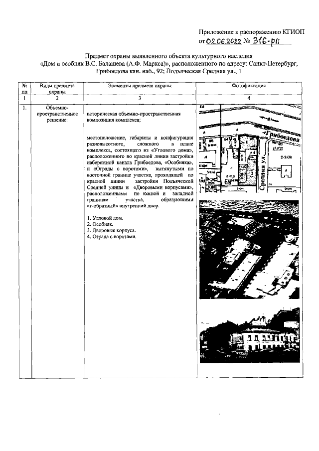
Распоряжение Комитета по государственному контролю, использованию и охране памятников истории и культуры Санкт-Петербурга от 02.06.2022 № 316-рп
"Об утверждении предмета охраны выявленного объекта культурного наследия "Дом и особняк В.С. Балашева (А.Ф. Маркса)"
Номер опубликования: 7801202206060011
Дата опубликования: 06.06.2022
Страница №3 из 13:
Увеличить