Официальное опубликование правовых актов
ОФИЦИАЛЬНОЕ ОПУБЛИКОВАНИЕ
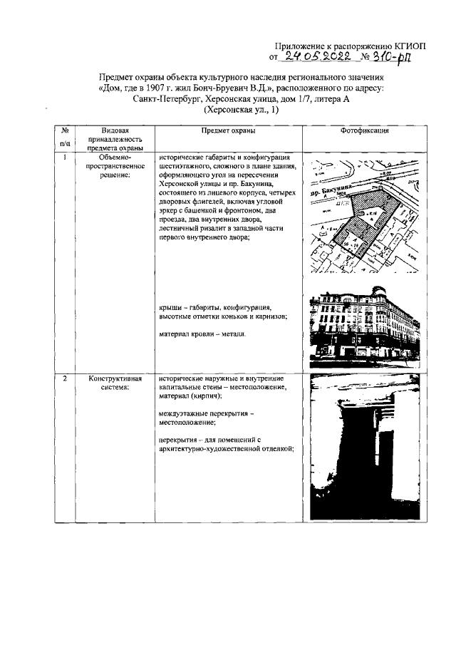
Распоряжение Комитета по государственному контролю, использованию и охране памятников истории и культуры Санкт-Петербурга от 24.05.2022 № 310-рп
"Об утверждении предмета охраны объекта культурного наследия регионального значения "Дом, где в 1907 г. жил Бонч-Бруевич В.Д."
Номер опубликования: 7801202205270004
Дата опубликования: 27.05.2022
Страница №2 из 18:
Увеличить