Официальное опубликование правовых актов
ОФИЦИАЛЬНОЕ ОПУБЛИКОВАНИЕ
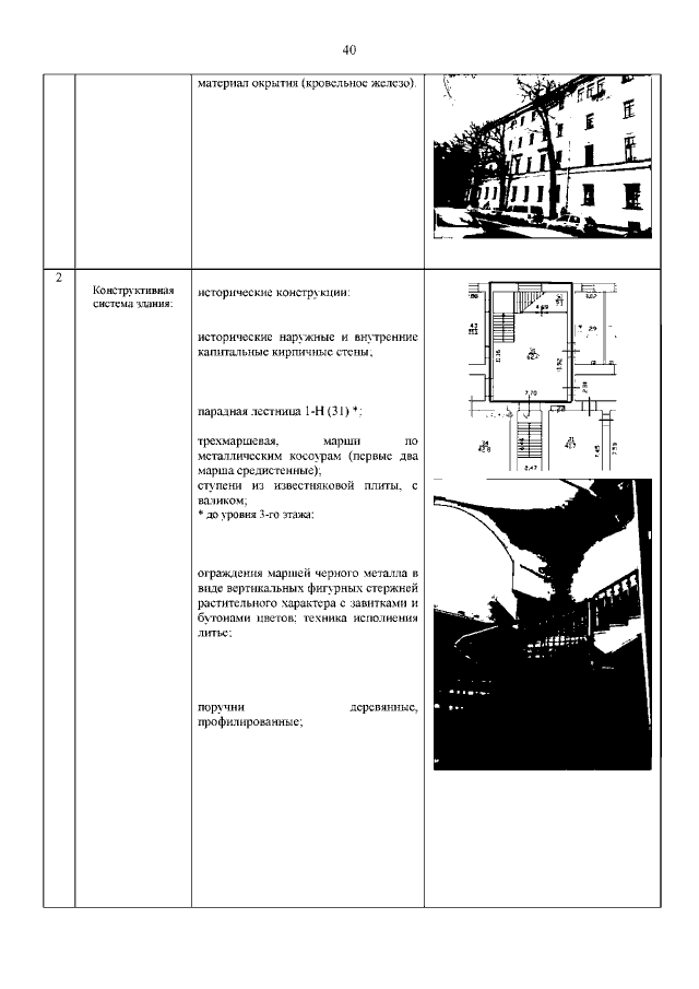
Распоряжение Комитета по государственному контролю, использованию и охране памятников истории и культуры Санкт-Петербурга от 16.05.2022 № 304-рп
"Об утверждении предмета охраны объекта культурного наследия регионального значения "Институт электротехнический. Здесь в 1903-1905 гг. жил изобретатель радио Попов А.С. Здесь работали ученые Графтио Г.А., Гаккель Я.М., Вологдин В.П."
Номер опубликования: 7801202205180011
Дата опубликования: 18.05.2022
Страница №41 из 70:
Увеличить