Официальное опубликование правовых актов
ОФИЦИАЛЬНОЕ ОПУБЛИКОВАНИЕ
Распоряжение Комитета по государственному контролю, использованию и охране памятников истории и культуры Санкт-Петербурга от 06.05.2022 № 295-рп
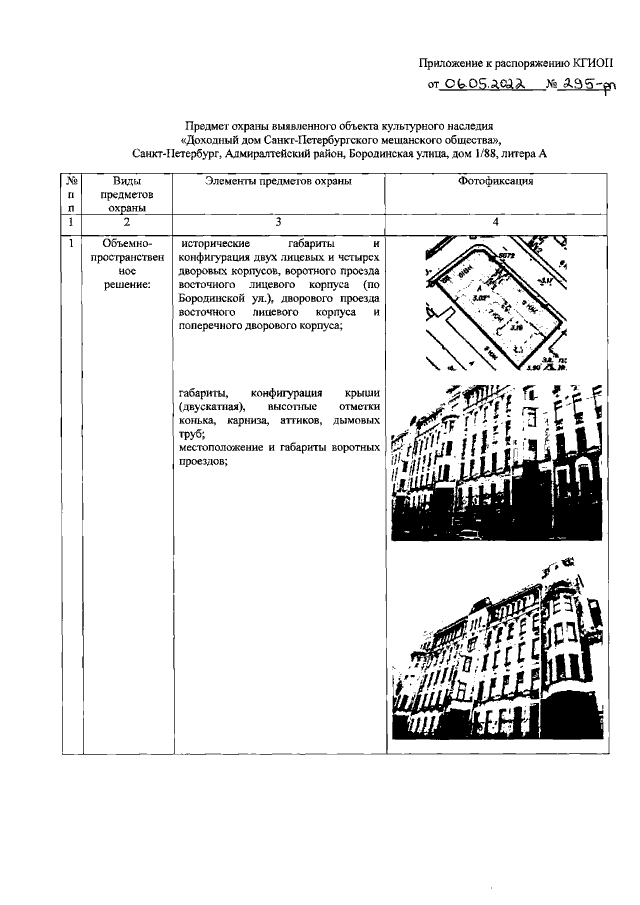
"Об утверждении предмета охраны выявленного объекта культурного наследия "Доходный дом Санкт-Петербургского мещанского общества"
Номер опубликования: 7801202205110002
Дата опубликования: 11.05.2022
Страница №2 из 22:
Увеличить