Официальное опубликование правовых актов
ОФИЦИАЛЬНОЕ ОПУБЛИКОВАНИЕ
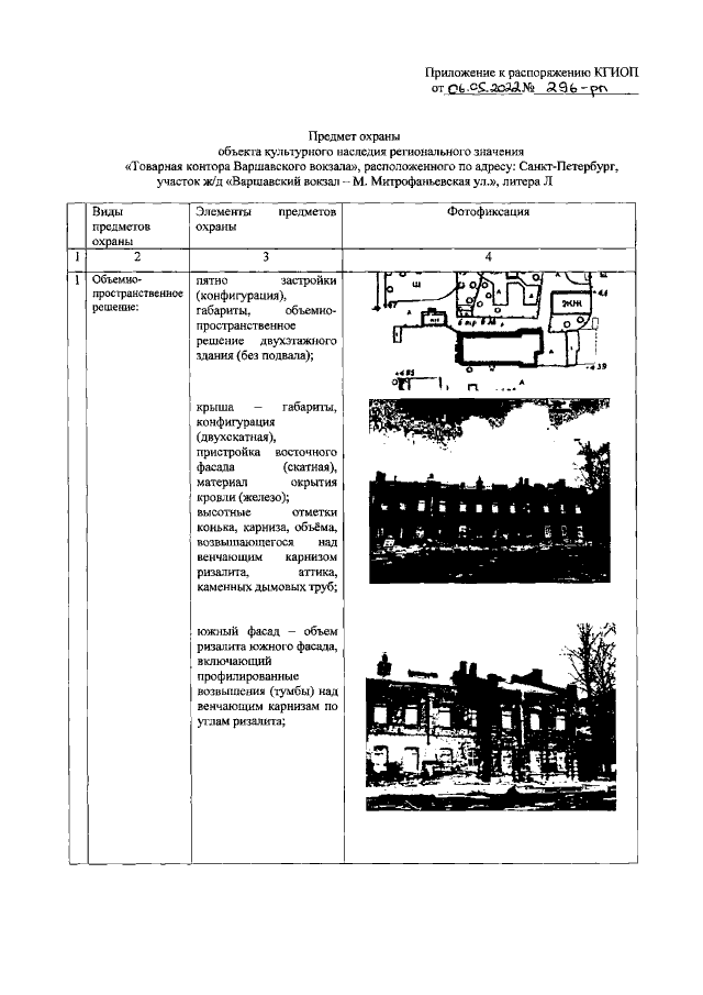
Распоряжение Комитета по государственному контролю, использованию и охране памятников истории и культуры Санкт-Петербурга от 06.05.2022 № 296-рп
"Об утверждении предмета охраны объекта культурного наследия регионального значения "Товарная контора Варшавского вокзала"
Номер опубликования: 7801202205110001
Дата опубликования: 11.05.2022
Страница №2 из 7:
Увеличить