Официальное опубликование правовых актов
ОФИЦИАЛЬНОЕ ОПУБЛИКОВАНИЕ
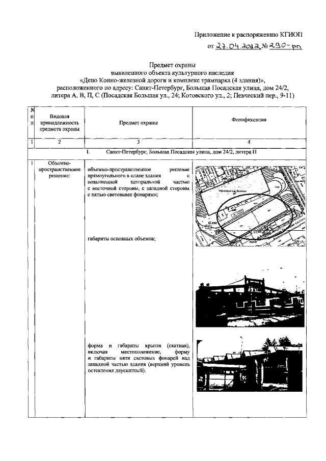
Распоряжение Комитета по государственному контролю, использованию и охране памятников истории и культуры Санкт-Петербурга от 27.04.2022 № 290-рп
"Об утверждении предмета охраны выявленного объекта культурного наследия "Депо Конно-железной дороги и комплекс трампарка (4 здания)"
Номер опубликования: 7801202205060007
Дата опубликования: 06.05.2022
Страница №2 из 20:
Увеличить