Официальное опубликование правовых актов
ОФИЦИАЛЬНОЕ ОПУБЛИКОВАНИЕ
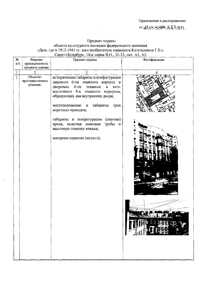
Распоряжение Комитета по государственному контролю, использованию и охране памятников истории и культуры Санкт-Петербурга от 27.04.2022 № 287-рп
"Об утверждении предмета охраны объекта культурного наследия федерального значения "Дом, где в 1912-1941 гг. жил изобретатель парашюта Котельников Г.Е."
Номер опубликования: 7801202204290010
Дата опубликования: 29.04.2022
Страница №2 из 23:
Увеличить