Официальное опубликование правовых актов
ОФИЦИАЛЬНОЕ ОПУБЛИКОВАНИЕ
Распоряжение Комитета по государственному контролю, использованию и охране памятников истории и культуры Санкт-Петербурга от 27.04.2022 № 285-рп
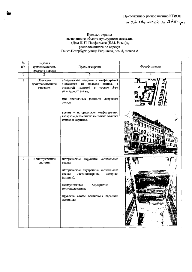
"Об утверждении предмета охраны выявленного объекта культурного наследия "Дом П.П. Порфирьева (Е.М. Розен)"
Номер опубликования: 7801202204290005
Дата опубликования: 29.04.2022
Страница №2 из 6:
Увеличить