Официальное опубликование правовых актов
ОФИЦИАЛЬНОЕ ОПУБЛИКОВАНИЕ
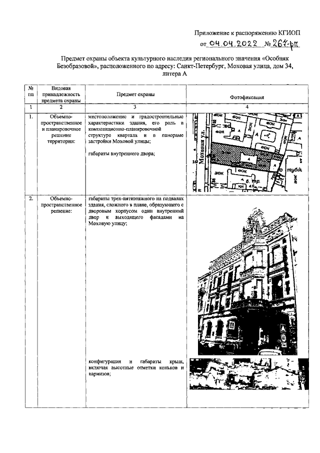
Распоряжение Комитета по государственному контролю, использованию и охране памятников истории и культуры Санкт-Петербурга от 04.04.2022 № 267-рп
"Об утверждении предмета охраны объекта культурного наследия регионального значения "Особняк Безобразовой"
Номер опубликования: 7801202204080002
Дата опубликования: 08.04.2022
Страница №2 из 50:
Увеличить