Официальное опубликование правовых актов
ОФИЦИАЛЬНОЕ ОПУБЛИКОВАНИЕ
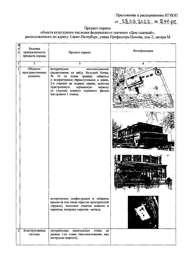
Распоряжение Комитета по государственному контролю, использованию и охране памятников истории и культуры Санкт-Петербурга от 28.03.2022 № 241-рп
"Об утверждении предмета охраны объекта культурного наследия федерального значения "Дом садовый"
Номер опубликования: 7801202204040027
Дата опубликования: 04.04.2022
Страница №2 из 6:
Увеличить