Официальное опубликование правовых актов
ОФИЦИАЛЬНОЕ ОПУБЛИКОВАНИЕ
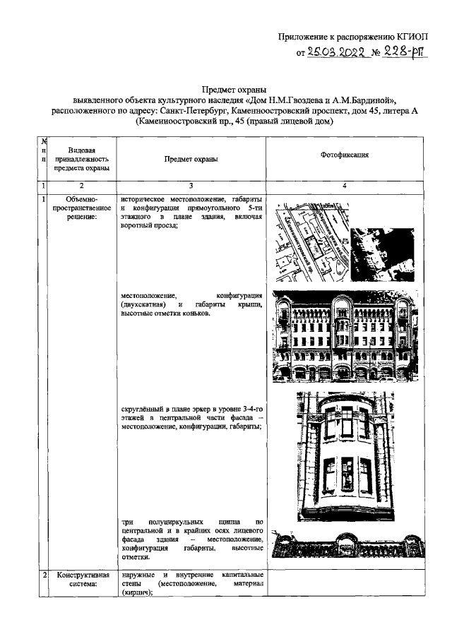
Распоряжение Комитета по государственному контролю, использованию и охране памятников истории и культуры Санкт-Петербурга от 25.03.2022 № 228-рп
"Об утверждении предмета охраны выявленного объекта культурного наследия "Дом Н.М. Гвоздева А.М. Бардиной"
Номер опубликования: 7801202204040013
Дата опубликования: 04.04.2022
Страница №2 из 10:
Увеличить