Официальное опубликование правовых актов
ОФИЦИАЛЬНОЕ ОПУБЛИКОВАНИЕ
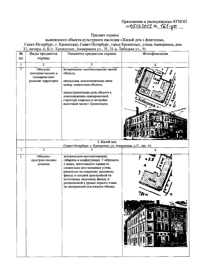
Распоряжение Комитета по государственному контролю, использованию и охране памятников истории и культуры Санкт-Петербурга от 05.03.2022 № 161-рп
"Об утверждении предмета охраны выявленного объекта культурного наследия "Жилой дом с флигелем"
Номер опубликования: 7801202203110007
Дата опубликования: 11.03.2022
Страница №2 из 13:
Увеличить