Официальное опубликование правовых актов
ОФИЦИАЛЬНОЕ ОПУБЛИКОВАНИЕ
Распоряжение Комитета по государственному контролю, использованию и охране памятников истории и культуры Санкт-Петербурга от 28.02.2022 № 150-рп
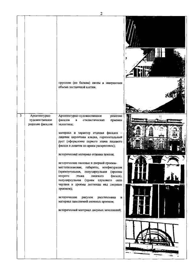
"Об утверждении предмета охраны выявленного объекта культурного наследия "Жилой дом"
Номер опубликования: 7801202203050010
Дата опубликования: 05.03.2022
Страница №3 из 5:
Увеличить