Официальное опубликование правовых актов
ОФИЦИАЛЬНОЕ ОПУБЛИКОВАНИЕ
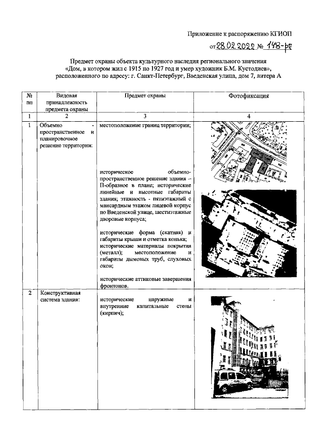
Распоряжение Комитета по государственному контролю, использованию и охране памятников истории и культуры Санкт-Петербурга от 28.02.2022 № 148-рп
"Об утверждении предмета охраны объекта культурного наследия регионального значения "Дом, в котором жил с 1915 по 1927 год и умер художник Б.М. Кустодиев"
Номер опубликования: 7801202203030016
Дата опубликования: 03.03.2022
Страница №2 из 12:
Увеличить