Официальное опубликование правовых актов
ОФИЦИАЛЬНОЕ ОПУБЛИКОВАНИЕ
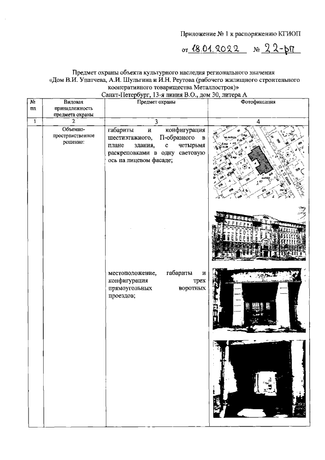
Распоряжение Комитета по государственному контролю, использованию и охране памятников истории и культуры Санкт-Петербурга от 18.01.2022 № 22-рп
"Об утверждении предмета охраны объекта культурного наследия регионального значения "Дом В.И. Упатчева, А.И. Шульгина и И.Н. Реутова (рабочего жилищного строительного кооперативного товарищества Металлостроя)"
Номер опубликования: 7801202201190007
Дата опубликования: 19.01.2022
Страница №2 из 11:
Увеличить