Официальное опубликование правовых актов
ОФИЦИАЛЬНОЕ ОПУБЛИКОВАНИЕ
Распоряжение Комитета по государственному контролю, использованию и охране памятников истории и культуры Санкт-Петербурга от 18.01.2022 № 21-рп
"Об утверждении предмета охраны объекта культурного наследия регионального значения "Дом А.А. Смирнова"
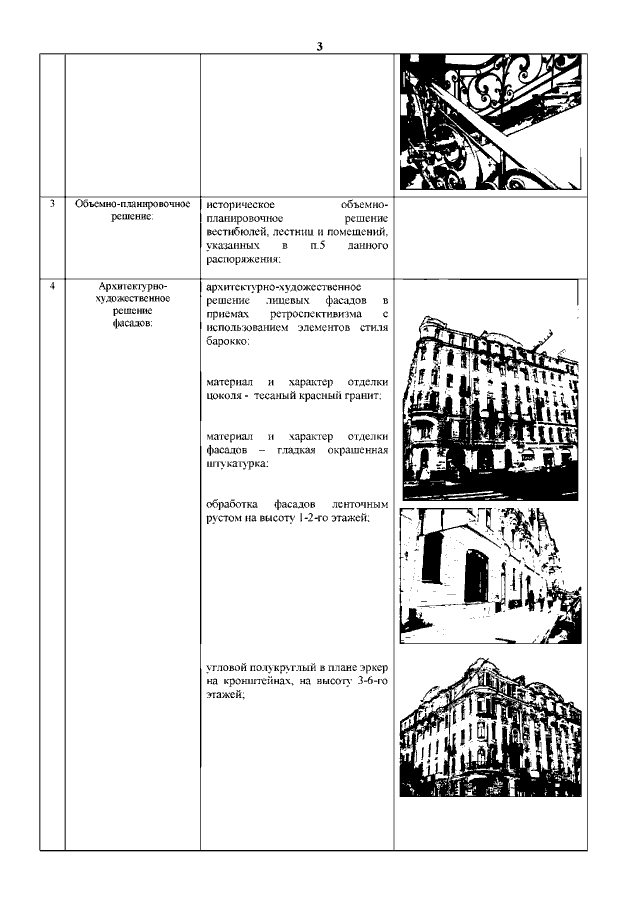
Номер опубликования: 7801202201190006
Дата опубликования: 19.01.2022
Страница №4 из 15:
Увеличить