Официальное опубликование правовых актов
ОФИЦИАЛЬНОЕ ОПУБЛИКОВАНИЕ
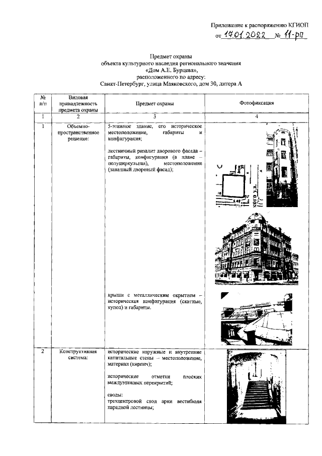
Распоряжение Комитета по государственному контролю, использованию и охране памятников истории и культуры Санкт-Петербурга от 17.01.2022 № 11-рп
"Об утверждении предмета охраны объекта культурного наследия регионального значения "Дом А.Е. Бурцева"
Номер опубликования: 7801202201190004
Дата опубликования: 19.01.2022
Страница №2 из 19:
Увеличить