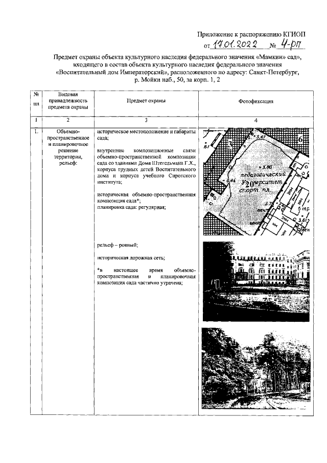
Распоряжение Комитета по государственному контролю, использованию и охране памятников истории и культуры Санкт-Петербурга от 17.01.2022 № 4-рп
"Об утверждении предмета охраны объекта культурного наследия федерального значения "Мамкин" сад", входящего в состав объекта культурного наследия федерального значения "Воспитательный дом Императорский"
"Об утверждении предмета охраны объекта культурного наследия федерального значения "Мамкин" сад", входящего в состав объекта культурного наследия федерального значения "Воспитательный дом Императорский"
Номер опубликования: 7801202201180008
Дата опубликования:
18.01.2022
