Официальное опубликование правовых актов
ОФИЦИАЛЬНОЕ ОПУБЛИКОВАНИЕ
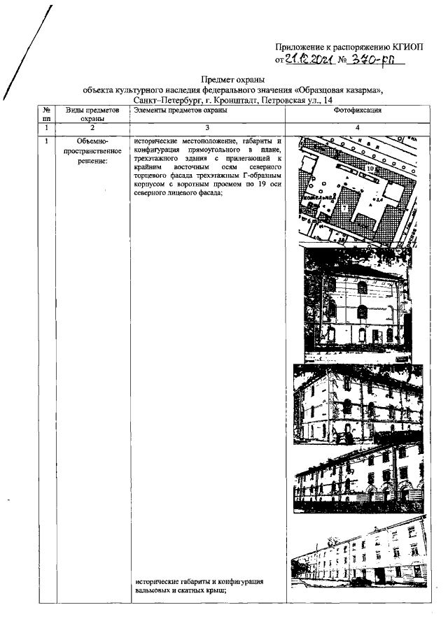
Распоряжение Комитета по государственному контролю, использованию и охране памятников истории и культуры Санкт-Петербурга от 21.12.2021 № 370-рп
"Об утверждении предмета охраны объекта культурного наследия федерального значения "Образцовая казарма"
Номер опубликования: 7801202112290028
Дата опубликования: 29.12.2021
Страница №2 из 10:
Увеличить