Официальное опубликование правовых актов
ОФИЦИАЛЬНОЕ ОПУБЛИКОВАНИЕ
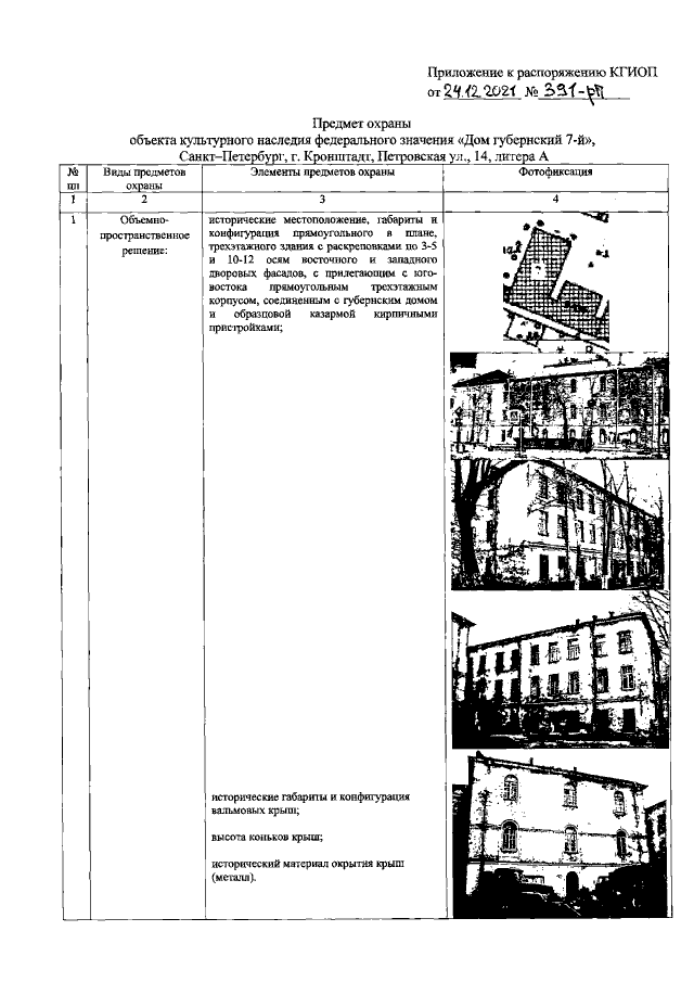
Распоряжение Комитета по государственному контролю, использованию и охране памятников истории и культуры Санкт-Петербурга от 24.12.2021 № 391-рп
"Об утверждении предмета охраны объекта культурного наследия федерального значения "Дом губернский 7-й"
Номер опубликования: 7801202112290018
Дата опубликования: 29.12.2021
Страница №2 из 8:
Увеличить