Официальное опубликование правовых актов
ОФИЦИАЛЬНОЕ ОПУБЛИКОВАНИЕ
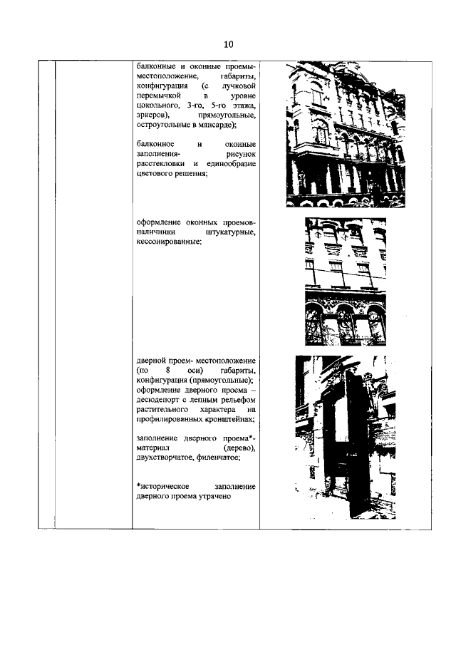
Распоряжение Комитета по государственному контролю, использованию и охране памятников истории и культуры Санкт-Петербурга от 17.12.2021 № 358-рп
"Об утверждении предмета охраны выявленного объекта культурного наследия "Дом А.С. Хренова"
Номер опубликования: 7801202112240004
Дата опубликования: 24.12.2021
Страница №11 из 20:
Увеличить