Официальное опубликование правовых актов
ОФИЦИАЛЬНОЕ ОПУБЛИКОВАНИЕ
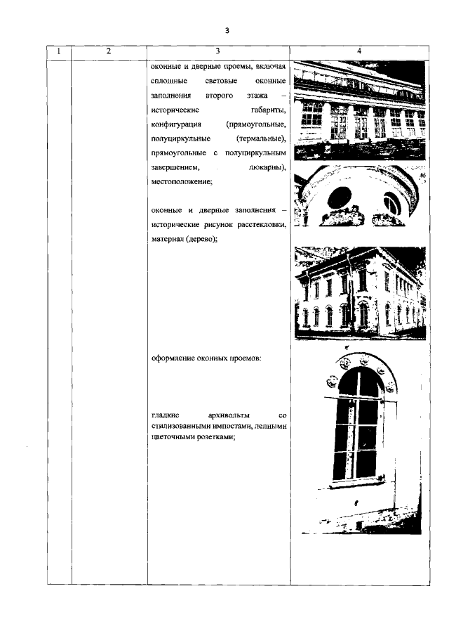
Распоряжение Комитета по государственному контролю, использованию и охране памятников истории и культуры Санкт-Петербурга от 10.12.2021 № 344-рп
"Об утверждении предмета охраны объекта культурного наследия федерального значения "Оранжерея Большая"
Номер опубликования: 7801202112140012
Дата опубликования: 14.12.2021
Страница №4 из 8:
Увеличить