Официальное опубликование правовых актов
ОФИЦИАЛЬНОЕ ОПУБЛИКОВАНИЕ
Распоряжение Комитета по государственному контролю, использованию и охране памятников истории и культуры Санкт-Петербурга от 01.12.2021 № 320-рп
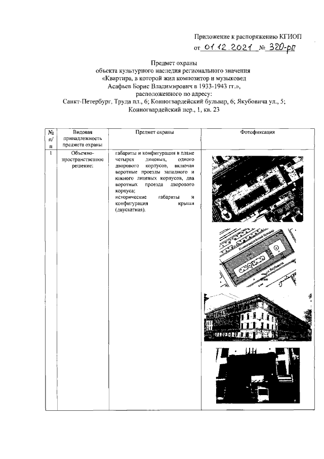
"Об утверждении предмета охраны объекта культурного наследия регионального значения "Квартира, в которой жил композитор и музыковед Асафьев Борис Владимирович в 1933-1943 гг."
Номер опубликования: 7801202112020013
Дата опубликования: 02.12.2021
Страница №2 из 5:
Увеличить