Официальное опубликование правовых актов
ОФИЦИАЛЬНОЕ ОПУБЛИКОВАНИЕ
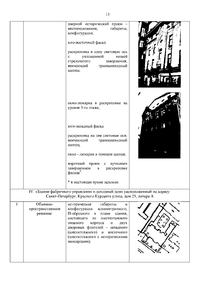
Распоряжение Комитета по государственному контролю, использованию и охране памятников истории и культуры Санкт-Петербурга от 23.11.2021 № 315-рп
"Об утверждении предмета охраны объекта культурного наследия регионального значения "Комплекс построек чулочно-трикотажной фабрики "В.П. Керстен"
Номер опубликования: 7801202111290009
Дата опубликования: 29.11.2021
Страница №14 из 41:
Увеличить