Официальное опубликование правовых актов
ОФИЦИАЛЬНОЕ ОПУБЛИКОВАНИЕ
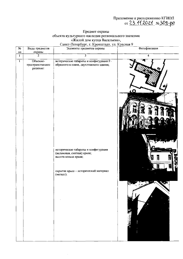
Распоряжение Комитета по государственному контролю, использованию и охране памятников истории и культуры Санкт-Петербурга от 23.11.2021 № 309-рп
"Об утверждении предмета охраны объекта культурного наследия регионального значения "Жилой дом купца Васильева"
Номер опубликования: 7801202111260001
Дата опубликования: 26.11.2021
Страница №2 из 5:
Увеличить