Официальное опубликование правовых актов
ОФИЦИАЛЬНОЕ ОПУБЛИКОВАНИЕ
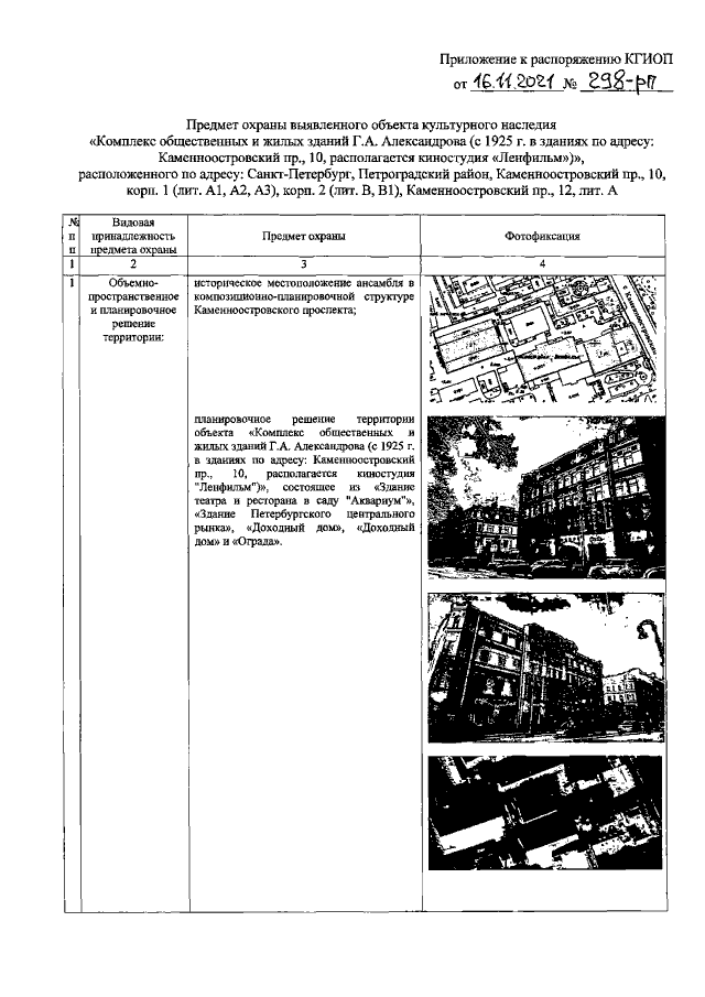
Распоряжение Комитета по государственному контролю, использованию и охране памятников истории и культуры Санкт-Петербурга от 16.11.2021 № 298-рп
"Об утверждении предмета охраны выявленного объекта культурного наследия "Комплекс общественных и жилых зданий Г.А. Александрова (с 1925 г. в зданиях по адресу: Каменноостровский пр., 10, располагается киностудия "Ленфильм")"
Номер опубликования: 7801202111220012
Дата опубликования: 22.11.2021
Страница №2 из 21:
Увеличить