Официальное опубликование правовых актов
ОФИЦИАЛЬНОЕ ОПУБЛИКОВАНИЕ
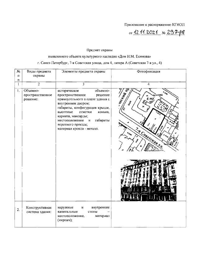
Распоряжение Комитета по государственному контролю, использованию и охране памятников истории и культуры Санкт-Петербурга от 12.11.2021 № 297-рп
"Об утверждении предмета охраны выявленного объекта культурного наследия "Дом И.М. Екимова"
Номер опубликования: 7801202111190011
Дата опубликования: 19.11.2021
Страница №2 из 20:
Увеличить